Una nueva patente sobre un iPhone plegable que podría doblarse por la mitad gracias a una bisagra flexible ha sido otorgada por la Oficina de Patentes y Marcas de los Estados Unidos a favor de Apple.
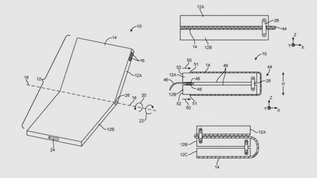
De acuerdo al informe de Patently Apple, la patente describe un dispositivo que comprende una bisagra flexible para permitir que la primera parte del equipo gire con respecto a la segunda, donde la porción flexible esta cubierta por tela.
Una variante de la patente constaría de una pantalla plegable dividida en tres partes, donde una de ellas está superpuesta sobre la parte flexible de la pantalla, de modo que cuando el equipo esté cerrado la parte superior actué como una tercera pantalla.
Como siempre, es posible que de lanzar una teléfono con pantalla flexible, Apple podría o no utilizar la configuración descrita en esta patente.
Con información de Patently Apple.
